Al crear una cuenta en francobordo.com podrás realizar tus compras rápidamente en nuestra tienda virtual, revisar el estado de tus pedidos y consultar tus operaciones anteriores.
¡Adelante! Te estabamos esperando.
Regístrate y aprovecha los descuentos y ventajas de ser Profesional de la Náutica
Únete ya a los mas de de 500 Profesionales de la Náutica
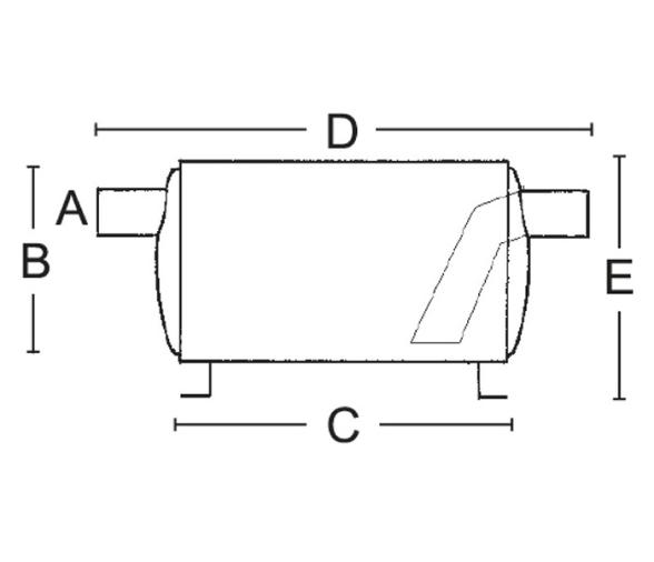
● Silenciador, sistemas de escape húmedos.
● Silencia efectivamente el ruido del escape del motor con un mínimo de contrapresión.
● El silenciador también funciona como un bloqueo efectivo del agua.
● Su gran capacidad para enfriar el agua elimina el riesgo de que el agua vuelva al sifón cuando se detiene.
● Los soportes de montaje ajustables hacen que el silenciador sea fácil de instalar.
● Material: caucho reforzado con piezas finales de acero inoxidable resistentes a los ácidos.
| Referencia | Ø A mm |
Ø B mm |
C mm |
D mm |
E mm |
Volumen I | Max HP |
| 51.390.01 | 40 | 160 | 250 | 420 | 190 | 5 | 50 |
| 51.390.03 | 45 | 127 | 250 | 400 | 145 | 3 | 35 |
| 51.390.05 | 51 | 160 | 250 | 420 | 190 | 5 | 50 |
| 51.390.07 | 60 | 160 | 375 | 560 | 190 | 7.5 | 100 |
| 51.390.09 | 76 | 160 | 375 | 560 | 190 | 7.5 | 100 |
| 51.390.11 | 90 | 203 | 500 | 760 | 215 | 15 | 200 |
| 51.390.13 | 100 | 203 | 500 | 760 | 215 | 15 | 200 |







